Trimite-ti-ne un e-mail
Produse
Electrovalvă 3V2 cu 3 căi
  • Electrovalvă 3V2 cu 3 căiElectrovalvă 3V2 cu 3 căi
  • Electrovalvă 3V2 cu 3 căiElectrovalvă 3V2 cu 3 căi

Electrovalvă 3V2 cu 3 căi

Următoarea este o introducere în 3V2 electrovalve 3 căi, OLK speră să vă ajute să înțelegeți mai bine 3V2 solenoid valve 3 way. Bun venit clienților noi și vechi pentru a continua să coopereze cu noi pentru a crea împreună un viitor mai bun!

Electrovalva 3V2 este mică, ușoară și ușor de instalat. Corpul său este fabricat din aluminiu puternic, care rezistă la rugină și deteriorare. Supapa utilizează o bobină de solenoid de încredere cu opțiuni pentru alimentare DC12V, DC24V, AC110V sau AC220V.

Această supapă solenoidală 3V2 marca OLK funcționează bine pentru controlul aerului cu debit mediu. Comută rapid, folosește puțină energie și durează mult timp. Poate fi normal închis (NC), normal deschis (NO) sau dublu solenoid. Este adesea folosit în linii de automatizare, mașini de ambalare, mașini de tipărit și mașini de alimentare. Dimensiunea sa redusă îl face perfect pentru spații înguste.

Electrovalva 3V2 3 cai Caracteristica produselor

1. Structură cu acțiune directă cu comutare sensibilă.

2. Sunt disponibile tipuri normal închis (NC) și normal deschis (NO).

A: 3V2: flux mediu, potrivit pentru un sistem de control pneumatic mic

4.Nu este necesară lubrifierea.

5. Echipat cu o comandă manuală pentru instalare și testare ușoară.

6.Multiple opțiuni standard de tensiune disponibile.

Supapa 3V2 Simbol:

Cod de comandă

3V

2

-

08

NC

A

 

 

 

Model

Cod

 

 Dimensiunea portului

Tip actoricesc

Tensiune standard

Intrare electrică

Tipul firului

 

3V:2 poziție 3 căi

Seria 2:2

 

06:G1/8

NC: normal închis

A:AC220V

Gol: tipul DVS

Gol: G

 

 

 

 

08:G1/4

NU: normal deschis

B:DC24V

I: Tip de linie

T:NPT

 

 

 

 

 

 

C:AC110V

 

 

 

 

 

 

 

 

E: AC24V

 

 

 

 

 

 

 

 

F:DC12V

 

 

 


Model

3V206

3V208

Mediu de lucru

Aer (filtrat cu un filtru de 40 μm sau mai mult)

Aer (filtrat cu un filtru de 40 μm sau mai mult)

Tip actoricesc

Actorie directă

Dimensiunea portului

G1/8

G1/4

Poziție și cale

2 Poziție 3 direcții

Zona efectivă

3,2 mm² (Cv = 0,18)

3,4 mm² (Cv = 0,19)

Lubrifiere

Nu este necesar

Interval de presiune de operare

0 ~ 0,8 MPa (0 ~ 114 psi)

NBP, EPDM немесе VINTON

1,5 MPa (215 psi)

Temperatura de funcționare (℃)

-20 ~ 70

Materialul corpului

Aliaj de aluminiu

 

Tensiune standard

AC220V AC110 AC24V  DC24V  DC12V

Gama de tensiune

AC: ± 15% DC: ± 10%

Consumul de energie

AC: 7VA DC: 7.0W

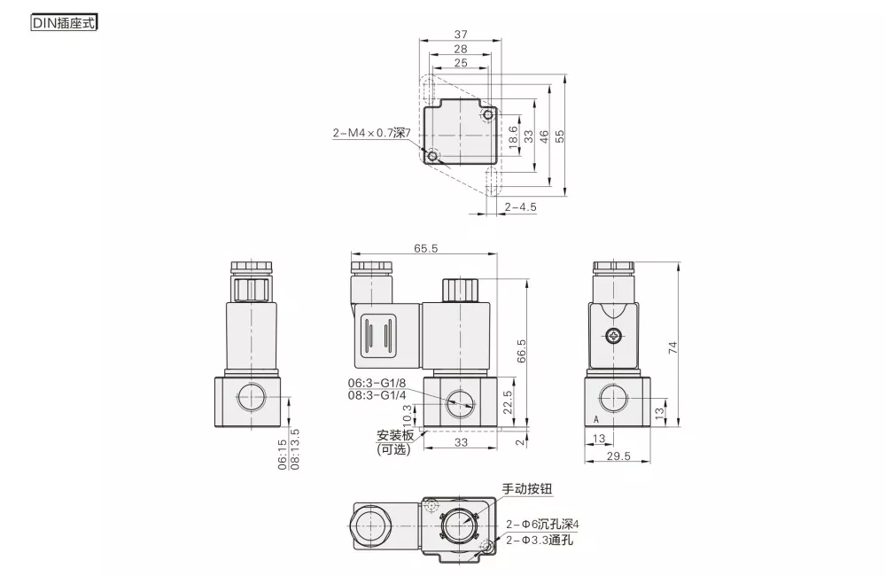
Clasa de protectie

IP65 (DIN40050)

Grad de izolare

Nivelul B

Tip de conectare

Tip priză DIN/Tip linie

Timp de excitare min

0,05 sec


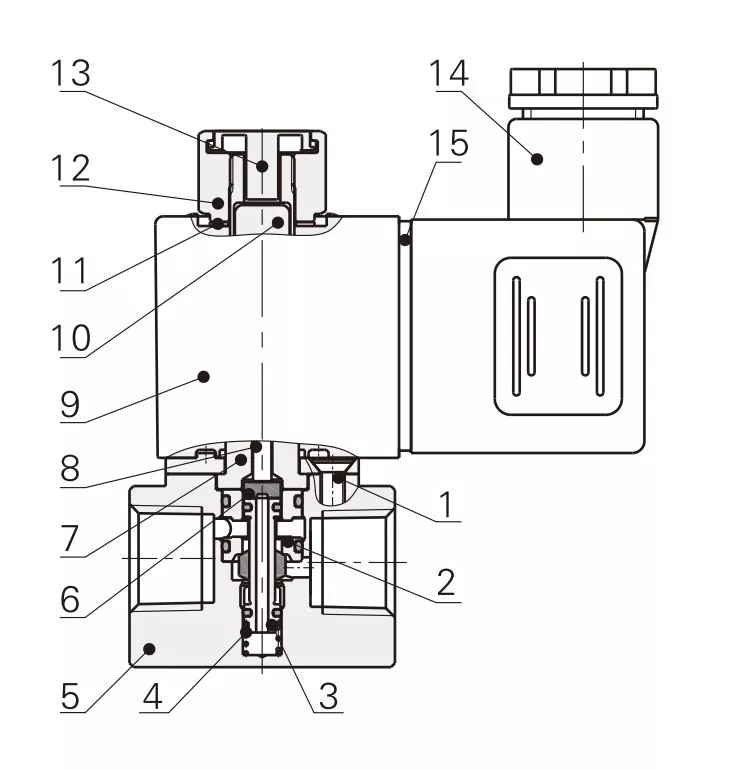
Nu.

Nume

1

Șurub înecat

2

Manșon distanțier

3

Ansamblu de bază

4

Primăvară

5

Corp

6

Garnitură

7

Ansamblu solenoid

8

Tija de piston

9

Bobina

10

Miez de fier în mișcare

11

Mașină de spălat fixă

12

Piuliță Fixă

13

Buton manual

14

Terminal

15

Garnitură terminală


Articol

3V1-M5/3V1-06

 Dimensiunea portului

3V2-06/3V2-08

3V3-08

Mediu de lucru

Aer

Aer, Apă, Ulei

Aer

Aer

Stare initiala:

NC

NC/NR

NU/NC

NU/NC

Tip de acționare

Actorie directă

Actorie directă

Actorie directă

Actorie directă

Dimensiunea portului

M5;G1/8

G1/8;G1/4

G1/8;G1/4

G1/4

Poziție și cale

3 Port 2 Poziție

2 Port 2 Poziție

3 Port 2 Poziție

3 Port 2 Poziție

Lubrifiere

Nu este necesar

Nu este necesar

Nu este necesar

Nu este necesar

Presiune de lucru

0–0,7 MPa

0–0,7 MPa

0–0,8 MPa

0–0,8 MPa

NBP, EPDM немесе VINTON

1,2 MPa

1,5 MPa

1,2 MPa

1,2 MPa

Dimensiunea orificiului

φ1,2 mm

φ2,5 mm

Φ3,2 mm/φ3,4 mm

Φ11 mm (debit mare de aer)


Întrebări frecvente:

Î: Care este principala diferență între electrovalva 3V2 și 3V3?

A: 3V2: flux mediu, potrivit pentru un sistem de control pneumatic mic

3V3: debit mare, potrivit pentru mai multe cilindri sau aplicații cu debit mare.

R: OLK 3V2 poate înlocui electrovalvele din seria AIRTAC 3V2 cu aceeași funcție și specificații similare.


Î: Care este dimensiunea orificiului supapei solenoid 3V2?

A: Dimensiunea orificiului supapei 3V2-06 este de 3,2 mm; dimensiunea orificiului supapei 3V2-06 este de 3,4 mm


Î: Ce produse poate înlocui OLK 3V2?

R: OLK 3V2 poate înlocui electrovalvele din seria AIRTAC 3V2 cu aceeași funcție și specificații similare.


Hot Tags: Electrovalvă 3V2 cu 3 căi, China, Producător, Furnizor, Fabrică
Trimite o anchetă
Informatii de contact
Bine ati venit pe site-ul nostru! Pentru întrebări despre produsele noastre sau lista de prețuri, vă rugăm să ne lăsați e-mailul și vă vom contacta în 24 de ore.
E-mail
cici@olkptc.com
Mobil
+86-13736765213
Abordare
Drumul Zhengtai, Zona industrială Xinguang, Liushi, Yueqing, Wenzhou, Zhejiang, China.
X
Folosim cookie-uri pentru a vă oferi o experiență de navigare mai bună, pentru a analiza traficul site-ului și pentru a personaliza conținutul. Prin utilizarea acestui site, sunteți de acord cu utilizarea cookie-urilor. Politica de confidențialitate
Respinge Accepta